Η Honda και η εξέλιξη της υβριδικής μοτοσικλέτας
Η Honda φέρνει επανάσταση στην ιδέα της υβριδικής μοτοσικλέτας με μια φιλόδοξη σχεδίαση που συνδυάζει δύο ηλεκτροκινητήρες, ένα καινοτόμο κιβώτιο ταχυτήτων και ένα όραμα για το μέλλον που ξεπερνά τις παραδοσιακές έννοιες.
Θα θέσει η Honda τα πρότυπα για τις επόμενες δεκαετίες με αυτή την πρωτοποριακή τεχνολογία;
Τα υβριδικά αυτοκίνητα έχουν γίνει βασικό στοιχείο της αγοράς από το ντεμπούτο του Toyota Prius πριν από 25 χρόνια.
Αλλά ο συνδυασμός βενζίνης και ηλεκτρικού σε δύο τροχούς παραμένει σπάνιος. Αν και ορισμένες εταιρείες έχουν ασχοληθεί με υβριδικές μοτοσικλέτες και η Kawasaki έχει ανακοινώσει καινοτομίες με το μοντέλο Ninja HEV του 2024, η Honda παρουσιάζει μια πολύ πιο περίπλοκη έκδοση.
Η Honda είναι γνωστή για την αντιμετώπιση και την χρησιμοποίηση των τεχνολογικών προκλήσεων. Αντί να ακολουθήσει τον ευκολότερο δρόμο και απλά να προσθέσει έναν ηλεκτροκινητήρα σε έναν υπάρχοντα κινητήρα εσωτερικής καύσης – όπως έκανε η Piaggio με το MP3 Hybrid το 2008 – η Honda ακολουθεί έναν καινοτόμο δρόμο.
Το Ninja HEV της Kawasaki υιοθετεί μια πολυλειτουργική προσέγγιση: ηλεκτρική ενέργεια σε αστικές περιοχές, βενζινοκίνηση στον ανοιχτό δρόμο και συνδυασμό και των δύο κινητήρων για μέγιστη απόδοση. Αλλά το όραμα της Honda πηγαίνει παραπέρα.
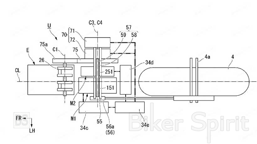
Τα τελευταία διπλώματα ευρεσιτεχνίας της Honda περιγράφουν μια υβριδική μοτοσικλέτα με κινητήρα εσωτερικής καύσης και τουλάχιστον δύο μονάδες ηλεκτροκινητήρα. Αυτό συμπληρώνεται από ένα εξελιγμένο κιβώτιο ταχυτήτων (planetary gearbox) και ένα χειροκίνητο κιβώτιο ταχυτήτων. Αυτή η ιδέα θυμίζει τις τεχνολογίες που χρησιμοποιήθηκαν στο πρώτο Prius.
Λόγω της απουσίας συμπλέκτη μεταξύ του κινητήρα και του κιβωτίου ταχυτήτων, το planetary κιβώτιο ταχυτήτων επιτρέπει διαφορετικούς τρόπους οδήγησης: αμιγώς ηλεκτρικό, καθαρό βενζίνη ή συνδυασμό και των δύο. Και οι δύο ηλεκτροκινητήρες παίζουν βασικό ρόλο στη φιλοσοφία κίνησης, χρησιμεύοντας είτε ως γεννήτρια είτε ως κίνηση.
Αν και τα πρωτότυπα παρουσιάζονται στο περίγραμμα ενός X-ADV 750, το τελικό προϊόν θα μπορούσε να πάρει μια πολύ διαφορετική μορφή. Η πολυπλοκότητα αυτού του νέου συστήματος υποδηλώνει ότι θα μπορούσε να είναι σε ένα ειδικά κατασκευασμένο μοντέλο σχεδιασμένο για μεγάλες διαδρομές και υψηλές επιδόσεις.
Έχουμε ακόμη πολύ δρόμο να διανύσουμε μέχρι να εισαχθεί στην αγορά αυτή η καινοτόμος ιδέα. Αλλά αν η Honda είναι σοβαρή σχετικά με τους στόχους της για κλιματική ουδετερότητα μέχρι το 2040, αυτό θα μπορούσε να είναι μόνο το όχημα που κάνει τη διαφορά.



















