Η Honda κατοχύρωσε με δίπλωμα ευρεσιτεχνίας τρία νέα σχέδια αερόσακων
Έχουν περάσει 15 χρόνια από τότε που η Honda κυκλοφόρησε με το πρώτο σύστημα αερόσακου μοτοσικλέτας παραγωγής στον κόσμο ως επιλογή στην Gold Wing το 2006.
Σε περισσότερο από μια δεκαετία, η Gold Wing παραμένει η μόνη μοτοσυκλέτα παραγωγής που έχει έναν αερόσακο. Πρόσφατα, αναφέρθηκε ότι η εταιρεία έχει υποβάλει αιτήσεις διπλωμάτων ευρεσιτεχνίας για τρία νέα σχέδια αερόσακων που μπορεί να εφαρμοστούν σε μελλοντικές μοτοσυκλέτες παραγωγής.
Η ιδέα της Honda για τον αερόσακο πηγάζει από την έρευνα σχετικά με τους τραυματισμούς στη μοτοσυκλέτα. Το 2003, η εταιρεία σημείωσε ότι το 68% των αναβατών υπέστη τραυματισμούς λόγω μετωπικών συγκρούσεων. Η πλειονότητα αυτών των τραυματισμών προκαλείται από τους αναβάτες που χτυπούν αυτοκίνητα, το δρόμο ή οποιοδήποτε άλλο αντικείμενο. Ως τέτοια, η εφικτή λύση ήταν να εγκαταστήσουν έναν αερόσακο για να μειώσουν τους τραυματισμούς.
Για να μάθουν πώς να κάνουν τον αερόσακο αποτελεσματικό, οι σχεδιαστές πρέπει να είναι σε θέση να προβλέψουν την κίνηση του αναβάτη κατά τη διάρκεια ενός ατυχήματος. Σε ένα αυτοκίνητο, αυτό είναι εύκολο – ο οδηγός και οι επιβάτες είναι δεμένοι στη θέση τους και δεν κινούνται πολύ. Σε μία μοτοσυκλέτα, οι αναβάτες τείνουν να πλαγιάζουν στις στροφές, να καθίζουν, να σκύβουν προς τα κάτω, να ακουμπούν από άκρη σε άκρη – είναι πολύ πιο μεγάλη η σωματική δραστηριότητα κατά την οδήγηση και αυτό σημαίνει ότι δεν υπάρχει καμία εγγύηση για το πού θα είναι ο αναβάτης ή σε τι θέση θα είναι, σε περίπτωση σύγκρουσης. Η Gold Wing είναι, φυσικά, μια εξαίρεση από αυτόν τον κανόνα. Το κάθισμά της έχει σχεδιαστεί για να μοιάζει με αυτοκίνητο, ελαχιστοποιώντας την κίνηση του αναβάτη, και έτσι διευκολύνει το σχεδιασμό αερόσακου που θα δουλέψει σωστά.
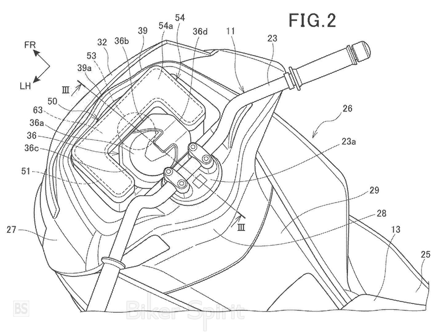
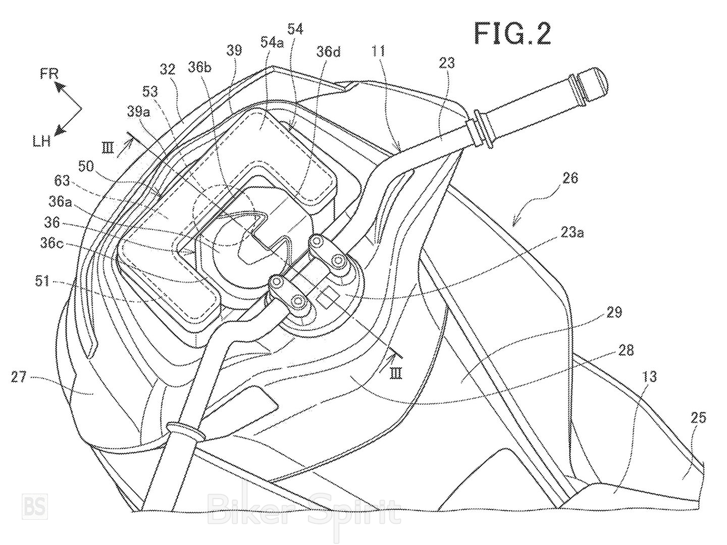
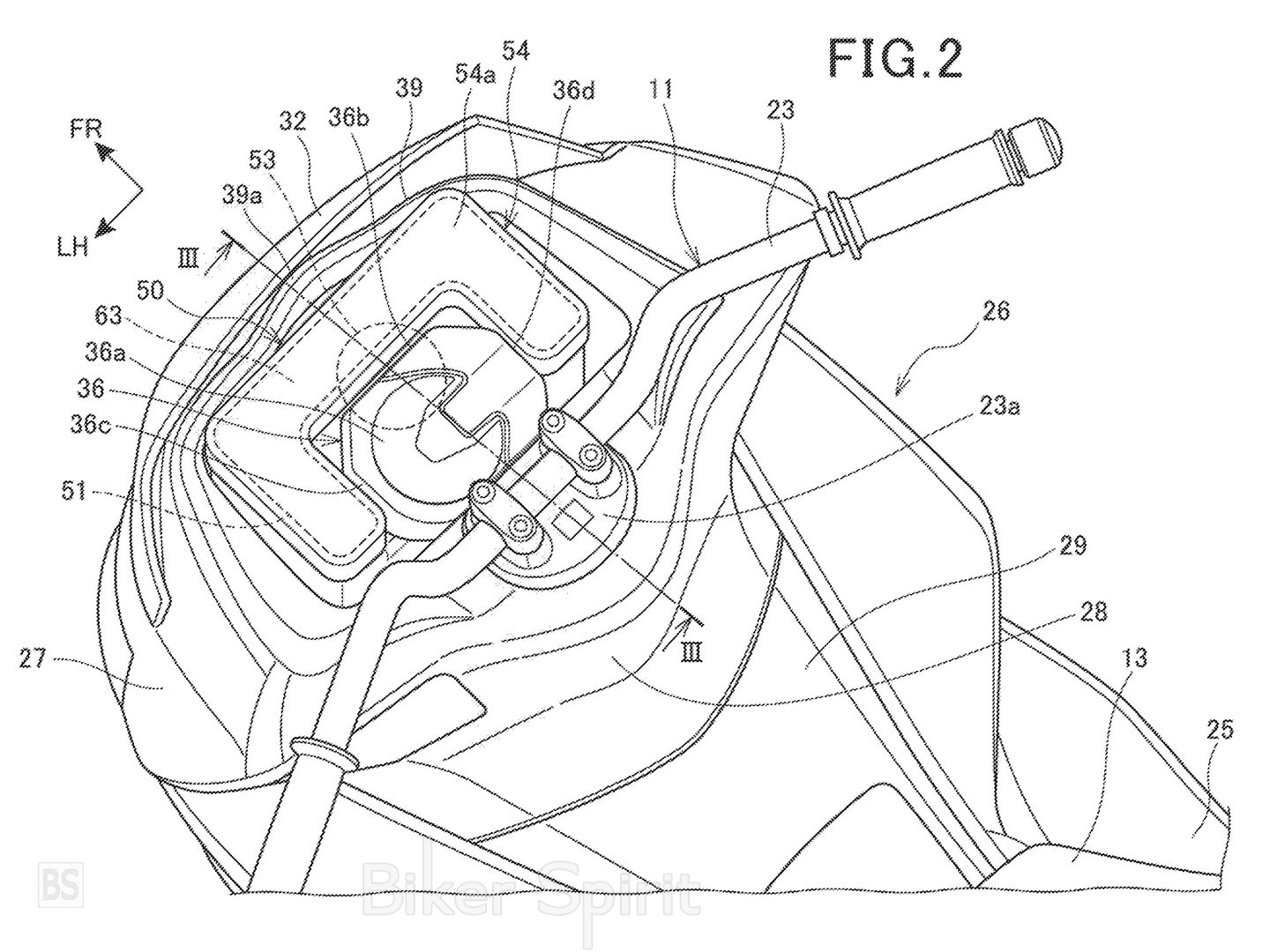
Τώρα 15 χρόνια αργότερα, το νέο σχέδιο της Honda προτείνει την εφαρμογή του αερόσακου σε σκούτερ. Οι αναβάτες σκούτερ υφίστανται ίση, αν όχι, παρόμοια ζημιά όταν πρόκειται για ατυχήματα. Τα σχέδια της Honda απεικονίζονται σε σκούτερ τύπου PCX.
Αυτό που μπορεί να φανεί είναι ότι τα σχέδια είναι διαφορετικά από το σχέδιο της Gold Wing. Τα νέα σχέδια δείχνουν μια τσάντα σε κουρτίνα σε σύγκριση με το κλασικό σχήμα μπαλονιού του Gold Wing.
Σύμφωνα με πληροφορίες, ο προϋπολογισμός του R&D (τμήμα έρευνας και ανάπτυξης) της Honda εξακολουθεί να δαπανάται για την ιδέα των αερόσακων. Αυτό επιβεβαιώνει ότι η Honda έχει στο μυαλό της να συνεχίσει τη διαδρομή προς την πραγματοποίηση του σχεδίου.












