Νέα Πίσω Αεροδυναμική σχεδιάζει η Aprilia για Μοντέλα Παραγωγής
Η τελευταία πατέντα της Aprilia αποκαλύπτει τη συγχώνευση καινοτομιών MotoGP και τεχνολογίας μοτοσυκλετών δρόμου, μια κίνηση που θα μπορούσε ενδεχομένως να αλλάξει το μέλλον της σχεδίασης και των επιδόσεων της μοτοσυκλέτας.
Η πατέντα της Aprilia αντανακλά την τάση χρήσης αγωνιστικών τεχνολογιών σε μοτοσυκλέτες παραγωγής. Ενώ τα άμεσα οφέλη τέτοιων αεροδυναμικών χαρακτηριστικών δεν έχουν ακόμη αποδειχθεί στο δρόμο, η πατέντα δείχνει ότι η Aprilia διερευνά τρόπους για να μεταφέρει την αγωνιστική της εμπειρία στις καθημερινές μοτοσυκλέτες.
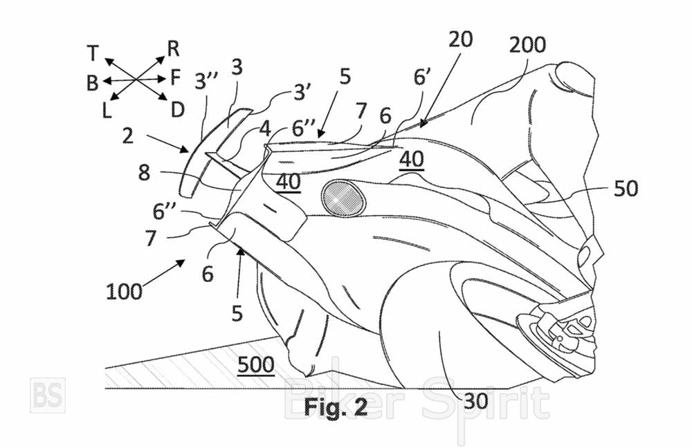
Η Aprilia κατέθεσε ένα νέο δίπλωμα ευρεσιτεχνίας που ρίχνει φως σε πιθανές μελλοντικές εξελίξεις στη βιομηχανία μοτοσυκλετών. Το δίπλωμα ευρεσιτεχνίας σχετίζεται με μια αεροδυναμική σχεδίαση που αναπτύχθηκε αρχικά για τη μοτοσυκλέτα RS-GP MotoGP. Συνδυάζει πίσω φτερό και αεροτομή με τρόπο που θα μπορούσε να είναι κατάλληλο τόσο για πίστες αγώνων όσο και ενδεχομένως για μοτοσικλέτες δρόμου.
Το δίπλωμα ευρεσιτεχνίας περιγράφει λεπτομερώς πώς λειτουργεί το πίσω φτερό και το σύστημα αεροτομής και προτείνει ότι αυτή η τεχνολογία θα μπορούσε ενδεχομένως να μεταφερθεί σε μοτοσυκλέτες δρόμου. Ενώ τα οφέλη τέτοιων αεροδυναμικών στοιχείων στους αγώνες είναι προφανή, η πιθανή χρήση τους για μοτοσικλέτες δρόμου παραμένει ασαφής.
Το σύστημα που κατοχυρώθηκε με δίπλωμα ευρεσιτεχνίας από την Aprilia είναι κάτι περισσότερο από ένα απλό πίσω φτερό. Συνδυάζει πλευρικά τοποθετημένα φτερά με ψηλά τοποθετημένη αεροτομή, η οποία στοχεύει να κρατά τον πίσω τροχό στο δρόμο, ειδικά σε υψηλές ταχύτητες και υπό φρενάρισμα. Όπως περιγράφεται στην πατέντα, αυτό μπορεί να βελτιώσει την οδήγηση σε ορισμένες καταστάσεις, όπως το φρενάρισμα στις στροφές.
Αν και η Aprilia δεν αγωνίζεται επί του παρόντος στη σειρά WSBK, μια πατέντα κατοχυρωμένη με δίπλωμα ευρεσιτεχνίας σχέδιο όπως αυτή θα μπορούσε να προσφέρει πλεονεκτήματα στο μέλλον, ειδικά καθώς οι κανόνες WSBK επιτρέπουν τα winglets εάν τοποθετηθούν στα σχετικά μοντέλα παραγωγής. Αυτό το δίπλωμα ευρεσιτεχνίας δείχνει το ενδιαφέρον της Aprilia να ενσωματώσει την αγωνιστική της τεχνολογία σε μελλοντικά μοντέλα παραγωγής, παρόμοια με αυτά που κάνουν ήδη άλλοι κατασκευαστές.
Το πώς και το πότε θα εφαρμοστούν αυτές οι τεχνολογίες στα μελλοντικά μοντέλα της Aprilia μένει να φανεί.















