Η νέα Katana / Recursion της Suzuki θα είναι υπερτροφοδοτούμενη
Νέο δίπλωμα ευρεσιτεχνίας υπέβαλε η Suzuki για ένα νέο μοντέλο με υπερτροφοδοτούμενη (με κομπρέσορα) και όχι μια turbo-charged μηχανή όπως όλοι πιστεύαμε μέχρι τώρα.
Η Suzuki παρουσίασε το concept Recursion το 2013 που μοιάζει με τα σχεδιαστικά στοιχεία του «Katana», ενώ επί του παρόντος, η Suzuki μιλά για το GSX-700T, με το ‘T’ να μας παραπλανεί παραπέμποντας μας σε “turbo-charged”. Αλλά αυτές οι εικόνες των διπλωμάτων ευρεσιτεχνίας μας λένε μια μάλλον διαφορετική ιστορία.
Εδώ είναι αυτό που μοιάζει με τα τελικά σχέδια του επερχόμενου σχεδίου της Suzuki που θέλει να βγάλει στην παραγωγή, είτε στο τέλος του 2018 ή το 2019.
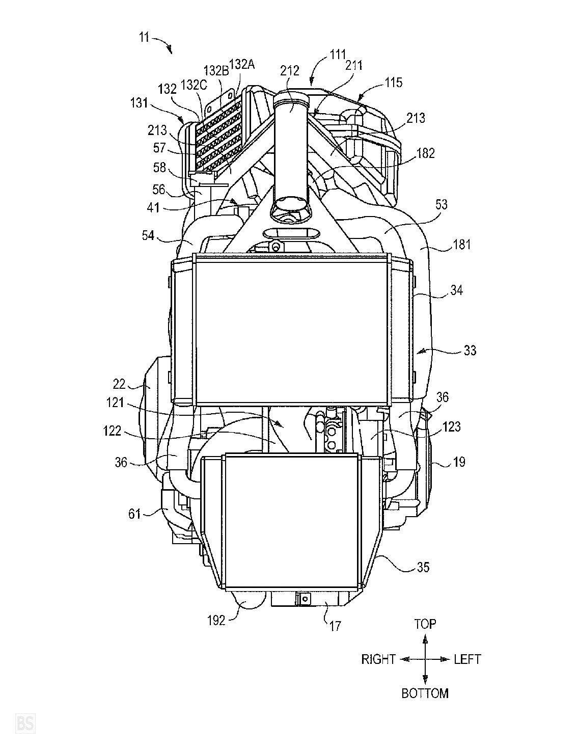
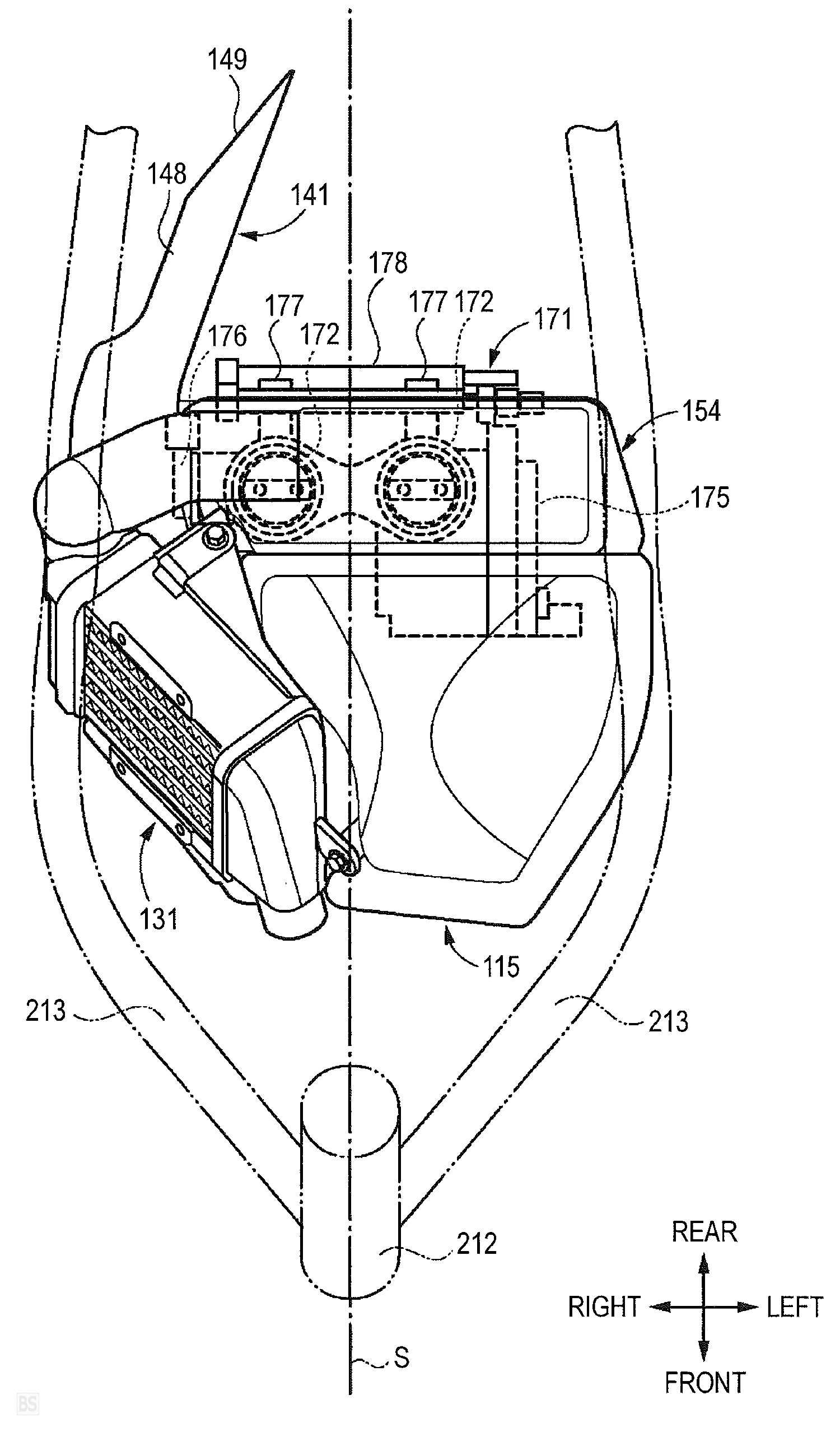
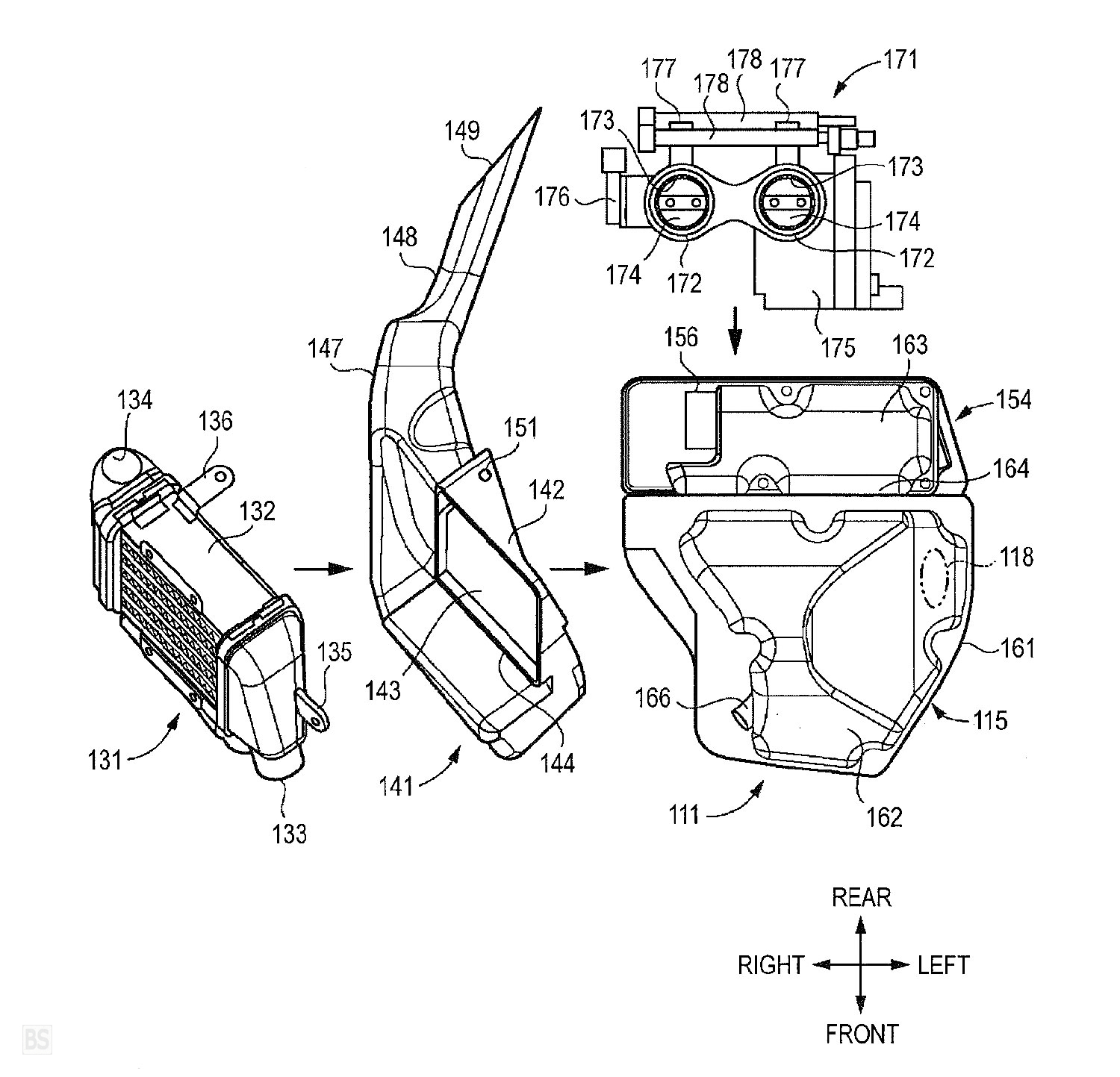
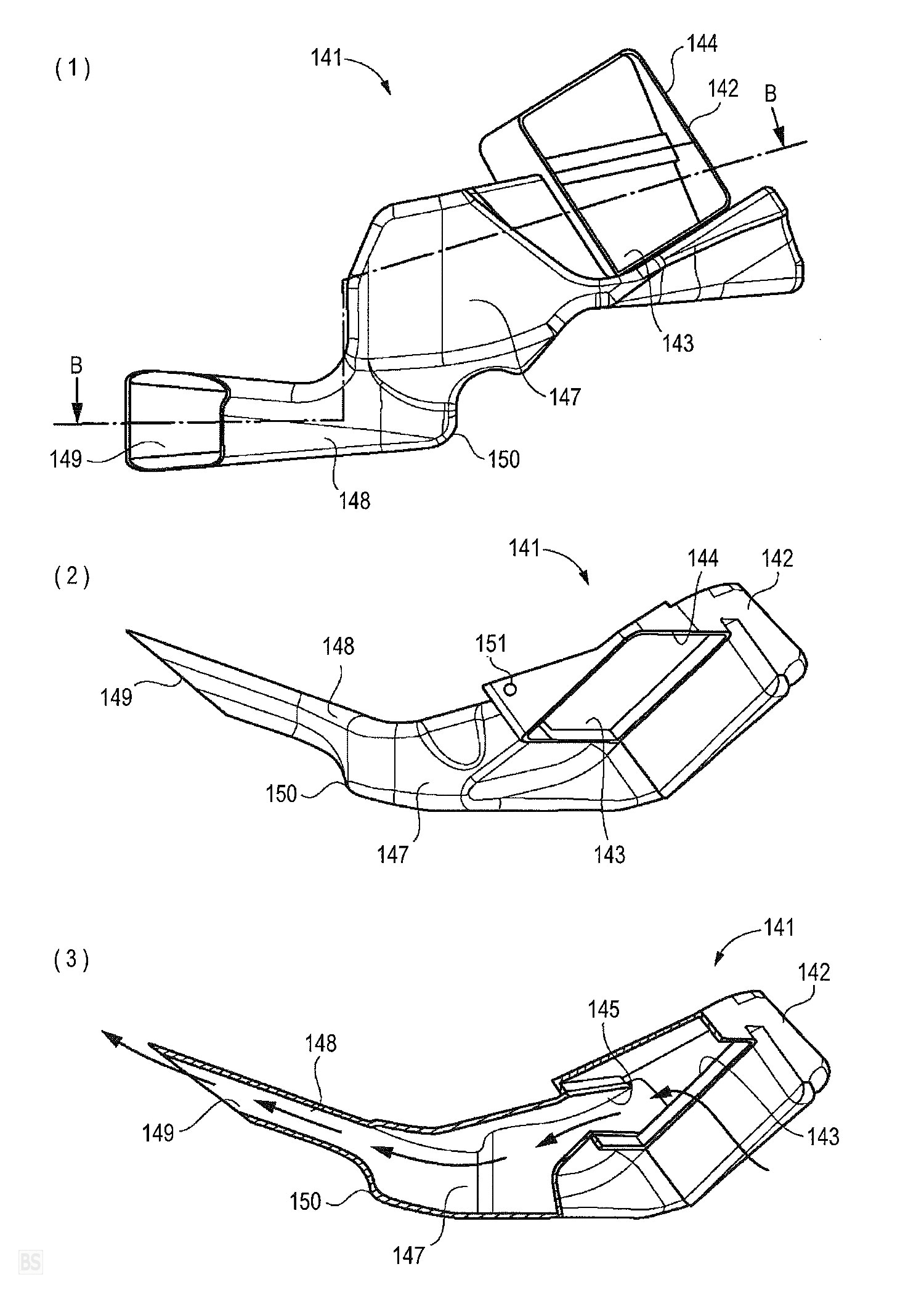
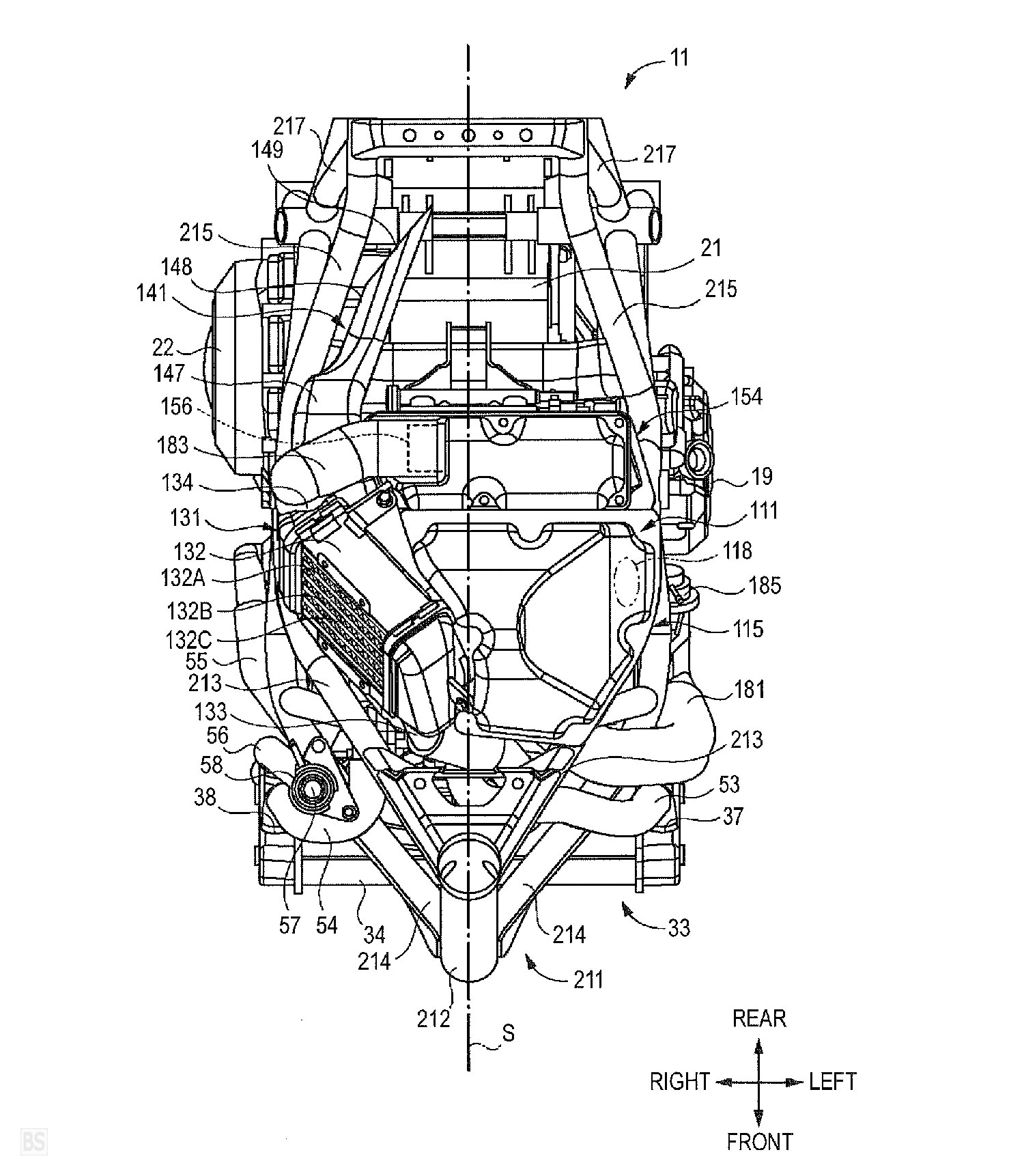
Εδώ και πάρα πολύ καιρό κυκλοφορούν διάφορα σχέδια και σενάρια για την νέα μοτοσυκλέτα της Suzuki. Τώρα βλέπουμε τα σχέδια αυτά, για μία υπερτροφοδοτούμενη μοτοσικλέτα με intercooler που περιγράφονται με σαφή τρόπο στα σχέδια για τον κινητήρα.
Προηγουμένως, Suzuki έκανε κατάθεση διαφορετικά σχέδια και για τις δύο επιλογές, turbo και υπερτροφοδότησης, για μοτοσυκλέτα με faired αλλά και γυμνή έκδοση.
Αυτά τα σχέδια δείχνουν με σαφήνεια από την πλευρά της υπερπλήρωσης με διαγράμματα ροής του αέρα και της πλευρικής διαδρομής προς τα φιλτροκούτια αέρα συν το σύστημα intercooler, το οποίο ψύχει τον αέρα από το συμπιεστή υπερτροφοδότη!
Ενώ έχουν παρουσιάσει σας project την μοτοσυκλέτα με το όνομα Recursion εδώ στην πραγματικότητα πιθανό να έχει μια εντελώς νέα ταυτότητα. Και ενώ δεν υπάρχει ακόμα καμία είδηση για το αν αυτή η μοτοσικλέτα στην πραγματικότητα θα λέγετε Katana αφού η Suzuki έχει πρόσφατα καταχωρήσει το όνομα και το λογότυπο για το Katana. Αν πρόκειται για το νέο Katana τότε έχει νόημα, όχι μόνο για να δώσει στο πολύ αγαπημένο ρετρό μια νέα ζωή, αλλά και για να κρατήσει μια απόσταση από τοproject που αρχικά παρουσιάστηκε στο 2013 Tokyo Motor Show στην Ιαπωνία και είναι ήδη γερασμένο.
Η Suzuki Motor Company είναι σε απελπιστική ανάγκη ενός μοντέλου ή δύο που θα της δώσει την αναγκαία άνοδο, ειδικά μετά από την κακή εμφάνιση τους στην EICMA 2017 που το μόνο που παρουσίασε ήταν το Suzuki SVX650 X.
Γνωρίζοντας ότι μια μοτοσυκλέτα διαρκεί τουλάχιστον 4 έως 5 χρόνια από την ιδέα έως στην παραγωγή, το GSX-700T σύμφωνα με όσα γνωρίζουμε έως τώρα μπορεί να το δούμε το 2018 στην EICMA. Μέχρι τότε, μείνετε συντονισμένοι μαζί μας ………
Δείτε στο παρακάτω VIDEO την διαφορά του Κομπρέσορα και του turbo από τον Jason Fenskeπου παρουσιάζει τα πλεονεκτήματα και τα μειονεκτήματα του κάθε τύπου.






























