Από το MotoGP στην άσφαλτο – Η Ducati πατεντάρει το αγωνιστικό της κιβώτιο
Η Ducati κατοχύρωσε πρόσφατα μια πατέντα που αποκαλύπτει λεπτομερώς τη λειτουργία του Ducati Racing Gearbox (DRG), ενός συστήματος αλλαγής ταχυτήτων προερχόμενου απευθείας από το MotoGP. Πρόκειται για μια λύση που εξαλείφει το τυχαίο πέρασμα στο νεκρό και η οποία όπως όλα δείχνουν δεν προορίζεται μόνο για την πίστα, αλλά και για μελλοντικές μοτοσυκλέτες δρόμου.
Όταν η Ducati παρουσίασε την Ducati Panigale V4 R 2026, τα βλέμματα έπεσαν στην ισχύ, την αεροδυναμική και το συνολικό πακέτο επιδόσεων. Όμως, μέσα σε όλο αυτό το τεχνολογικό οπλοστάσιο, υπήρχε μια λεπτομέρεια με ιδιαίτερο βάρος: ένα κιβώτιο ταχυτήτων εντελώς διαφορετικό από ό,τι έχουμε συνηθίσει σε μοτοσυκλέτα παραγωγής.
Η πατέντα που δημοσιεύτηκε πρόσφατα αποκαλύπτει τι ακριβώς κρύβεται πίσω από το DRG και γιατί δεν πρόκειται για ένα «παιχνίδι πίστας». Το σύστημα είναι μηχανικά απλό, ρεαλιστικό σε κόστος και εύκολα προσαρμόσιμο, κάτι που αφήνει ξεκάθαρα ανοιχτό το ενδεχόμενο να το δούμε και σε άλλα μοντέλα της Ducati στο μέλλον.
Σχέδιο αλλαγών εμπνευσμένο από αγώνες
Η φιλοσοφία του συστήματος βασίζεται σε ένα αγωνιστικό μοτίβο αλλαγών. Αντί για τη γνωστή διάταξη με τη νεκρά ανάμεσα στην πρώτη και τη δεύτερη ταχύτητα, η Ducati υιοθετεί το σχήμα:
N – 1 – 2 – 3 – 4 – 5 – 6
Η νεκρά βρίσκεται εκτός της βασικής ακολουθίας, όπως ακριβώς συμβαίνει στις μοτοσυκλέτες του MotoGP. Το πλεονέκτημα είναι ξεκάθαρο: ταχύτερες και πιο ασφαλείς κατεβάσεις, ειδικά σε έντονες επιβραδύνσεις πριν από στροφή, χωρίς τον φόβο να «χαθεί» η μετάδοση τη χειρότερη δυνατή στιγμή.
Σε χρήση δρόμου, όμως, ένα τέτοιο στήσιμο θα μπορούσε να κρύβει ρίσκο. Το να βρεθείς κατά λάθος με νεκρά την ώρα που φρενάρεις δυνατά δεν είναι ακριβώς ό,τι πιο ευχάριστο. Εκεί ακριβώς έρχεται η δεύτερη και πιο κρίσιμη πατέντα.
Ducati Neutral Lock: Νεκρά μόνο όταν το θέλεις
Η Ducati ονομάζει τη λύση Ducati Neutral Lock (DNL) και ουσιαστικά αποτελεί το “κλειδί” όλου του συστήματος. Η νεκρά είναι μόνιμα μπλοκαρισμένη και μπορεί να επιλεγεί μόνο αν ο αναβάτης το θελήσει συνειδητά.
Για να μπει νεκρά, απαιτείται ταυτόχρονα:
-
πίεση μιας μικρής μανέτας/κουμπιού στον δεξί αντίχειρα
-
και κίνηση του λεβιέ ταχυτήτων
Δύο ξεκάθαρες, συνδυαστικές ενέργειες. Έτσι, η νεκρά δεν μπορεί να μπει ποτέ κατά λάθος. Και πρακτικά, πέρα από στάση ή εκκίνηση, πότε πραγματικά χρειάζεται να είναι άμεσα διαθέσιμη;
Το σύστημα αυτό χρησιμοποιείται εδώ και χρόνια στους αγώνες, όμως η Ducati κατάφερε να το μεταφέρει σε μια μορφή απόλυτα συμβατή με μοτοσυκλέτα παραγωγής.
Απλός, μηχανικός μηχανισμός και χωρίς ηλεκτρονικά κόλπα
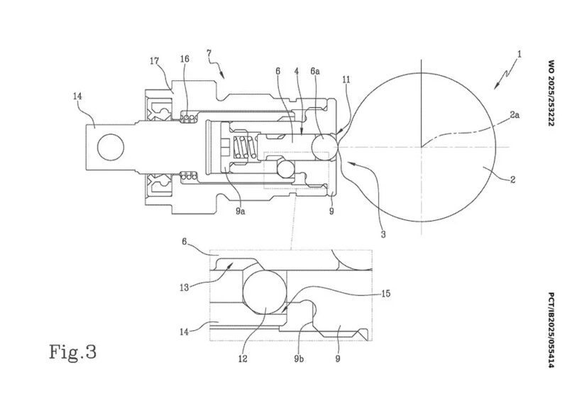
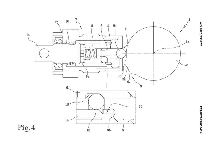
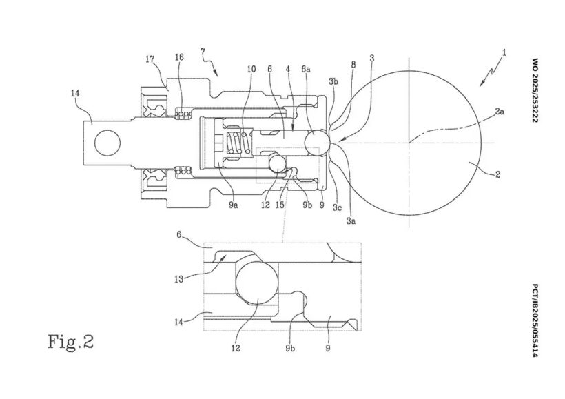
Σύμφωνα με την πατέντα, ο μηχανισμός αποτελείται από:
-
ένα έμβολο με ελατήριο
-
ένα σύστημα σφαιριδίων ασφάλισης
-
και μια ειδική καμπύλη (cam) στον άξονα του επιλογέα
Όσο δεν ενεργοποιείται το χειριστήριο στο τιμόνι, το έμβολο μπλοκάρει τη διέλευση από τη θέση της νεκράς. Μόλις ο αναβάτης το απελευθερώσει, το έμβολο υποχωρεί, επιτρέπει την επιλογή νεκράς και στη συνέχεια επανέρχεται αυτόματα.
Δεν υπάρχει περίπλοκη ηλεκτρονική διαχείριση, ούτε αισθητήρες. Συνολικά, το σύστημα αποτελείται από περίπου 12 μηχανικά εξαρτήματα, κάτι που το καθιστά αξιόπιστο και οικονομικά βιώσιμο. Η ενεργοποίηση μπορεί να γίνει μέσω ντίζας, υδραυλικά ή ακόμα και με ηλεκτρομαγνήτη (solenoid), προσφέροντας ευελιξία ενσωμάτωσης σε διαφορετικές πλατφόρμες.
Από τα μοντέλα “R”… στη γκάμα παραγωγής;
Η Ducati σπάνια κατοχυρώνει πατέντες τέτοιου επιπέδου για να τις κρατήσει αποκλειστικά σε μια superbike περιορισμένης παραγωγής. Ιστορικά, πολλές τεχνολογίες εμφανίζονται πρώτα στις εκδόσεις R και στη συνέχεια περνούν σταδιακά στη βασική γκάμα.
Όλα δείχνουν, λοιπόν, ότι το Ducati Racing Gearbox και το Neutral Lock θα μπορούσαν να κάνουν την εμφάνισή τους σε μελλοντικές Panigale, και όχι μόνο, προσφέροντας: ταχύτερες αλλαγές, μεγαλύτερη ακρίβεια, και αυξημένη ασφάλεια σε σπορ οδήγηση.
Ένα ακόμη ξεκάθαρο παράδειγμα του πώς η Ducati συνεχίζει να μεταφέρει την τεχνογνωσία του MotoGP απευθείας στον δρόμο.















