Υβριδικό μοντέλο και κίνηση στους δυο τροχούς από την Yamaha ?
Εδώ έχουμε τα σχέδια που κατέθεσε η Yamaha για μια νέα μοτοσυκλέτα, μάλλον με κίνηση και στους δυο τροχούς.
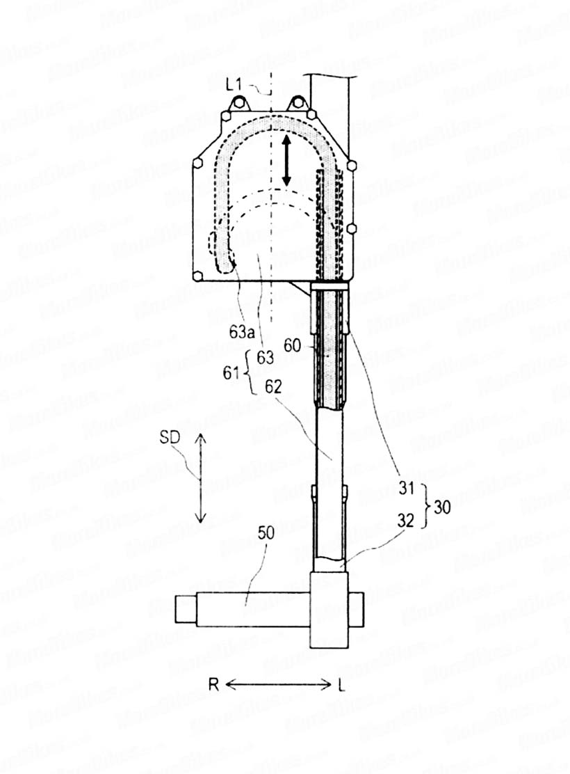
Συμβατικός και Ηλεκτρικός κινητήρας σε μοτοσυκλέτα? Κίνηση και στους δυο τροχούς ? Τι ακριβώς σχεδιάζει η Yamaha?
Ένα συμβατικό μοτέρ στο πίσω μέρος, και ηλεκτρικό κινητήρα στο μπροστινό μέρος.
Τα σχέδια που έχουν κατατεθεί από την Yamaha ίσως να είναι μια μοτοσυκλέτα που είναι πιθανό να αποτελέσει ένα μοντέλο μιας μελλοντικής σειράς.
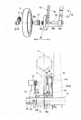
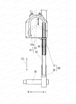
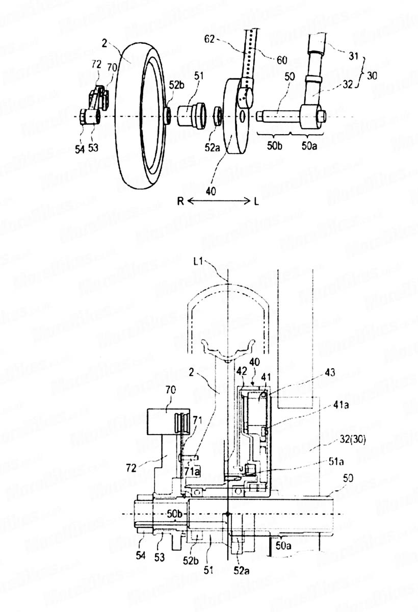
Τα σχέδια δείχνουν έναν τύπου άξονα-καλώδιο που δίνει κίνηση στον μπροστινό τροχό.
Στην κεντρική εικόνα φαίνεται σαν να είναι μπαταρία, η οποία δεν συμβαδίζει με την περιγραφή της εγγραφής των σχεδίων, για το πώς θα λειτουργήσει η μηχανή στον μπροστινό τροχό. Δεν έχουμε καμία ιδέα για το αν οι δυο κινητήρες θα δουλέψουν στο ίδιο πλαίσιο, αλλά στην περίπτωση αυτή φαίνεται να είναι.
Δεν υπάρχει καμία ένδειξη για το πότε αυτή η μοτοσικλέτα θα δει το φως της ημέρας, εξαρτάτε σε ποιο στάδιο βρίσκεται η έρευνα της Yamaha. Προς το παρόν θέλει να μας δώσει «τροφή» και να μας εξιτάρει την περιέργεια.

















